从比亚迪对“方程豹”商标的保护着手,细究商标布局思维

浏览: 作者: 来源: 时间:2025-01-10 分类:社会责任
郑律师建议申请商标之前,要明确自身商标所申请注册使用的指定商品与服务种类推广品牌种类涉及的地域变更问题等信息,尽可以多类别注册商标,以免被别有用心的人钻了空子,这样才能充分保护自身品牌

比亚迪公司一直都是行业的领军品牌,特别是旗下的新能源汽车,更是在全世界名列前茅,今天,郑立霞律师比亚迪对旗下“方程豹”品牌的商标保护策略着手,细究企业如何开展商标布局。


图片


据了解,方程豹是比亚迪旗下的新能源个性品牌,也就是此前流传的F品牌”,最初在202369日正式定名“方程豹”。


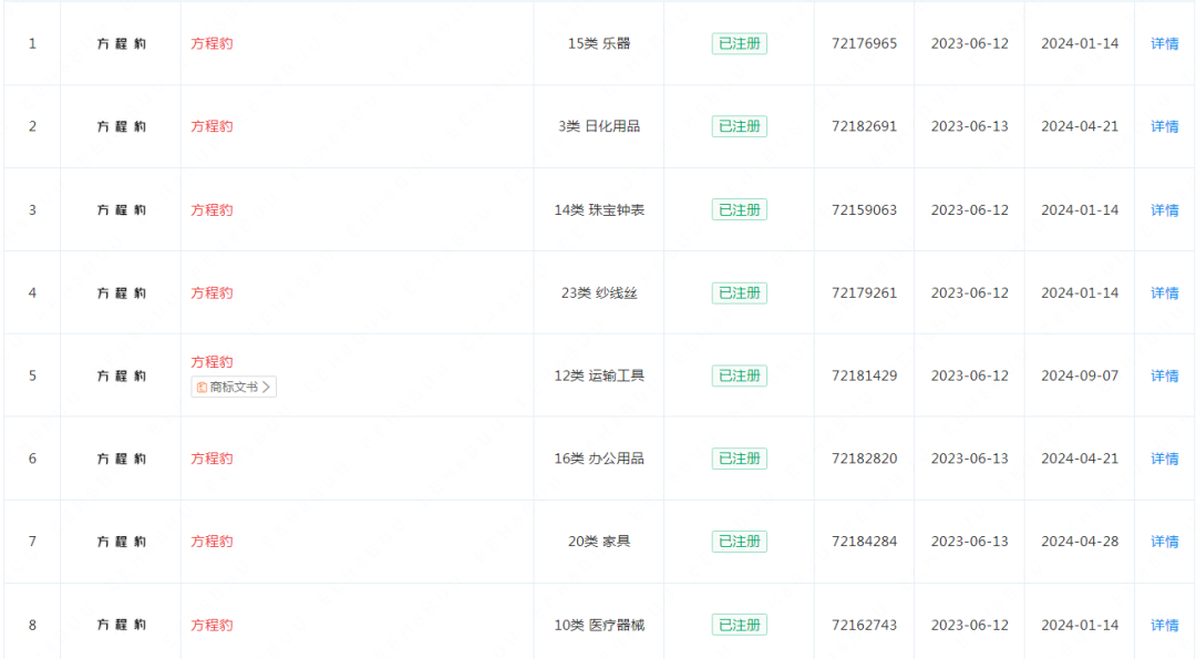
虽然比亚迪在202369日正式定名为“方程豹”,但在正式定名之前,即2022819日该公司就已经申请“方程豹”12类的商标了,核定在:小汽车;汽车;汽车车身;陆、空、水或铁路用机动运载工具;电动运载工具。


图片


除此之外,在方程豹正式定名之后,比亚迪公司还在2023612日至13日又注册了除12类以外的所有类别,不光保护了产品类别,该名字也进行了全类防御和保护。由此可见,大公司的长远眼光还是值得大家学习的。


图片


很多公司在创业初期,只关注了产品研发和品牌推广,等产品都上市了才想起要注册商标,申请注册时却发现商标的显著性不足或商标被人抢注,导致申请被驳回。而如果此时换商标就意味着前期市场营销所有的投入竹篮打水一场空。


而为了避免遭受此类损失,企业就必须提前做好商标布局规划!郑律师建议:申请商标之前,要明确自身商标所申请注册使用的指定商品与服务种类、推广品牌种类、涉及的地域变更问题等信息,尽可以多类别注册商标,以免被别有用心的人钻了空子,这样才能充分保护自身品牌。


而通过“方程豹”商标布局这件事来看,郑律师还建议:不要模仿市面上已存在的品牌,如此行径并不会成功,只会增添被驳回或者侵权的风险,所做的努力就会付之东流,还是要根据自己想好名字一步一步的去做好它,经营它,打造成自己独一无二的品牌。


如果您也有知识产权方面的困扰,欢迎私信留言,海庆律所将携手郑立霞律师为您提供专业的知识产权法律服务。


【温馨提示】文中部分图片及素材来源网络,版权归属原作者,若有不妥,请联系告知修改或删除,谢谢!